长者版
无障碍阅读
首 页
政务公开
新闻中心
政务服务
交流互动
全景大冶
专题专栏
当前位置:
首页
>
政府信息公开
>
地方部门平台链接
>
乡镇街
>
殷祖镇
>
法定主动公开内容
>
公益事业建设
>
社会救助
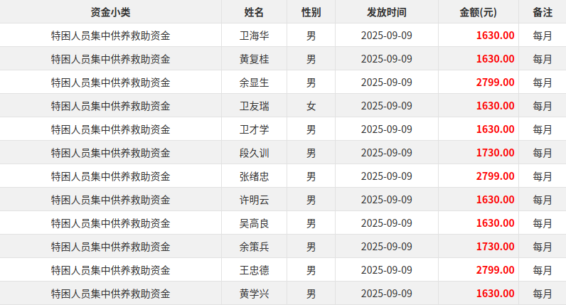
殷祖镇2025年9月份特困供养发放记录
发表日期:2025-09-19 文章来源:大冶市殷祖镇人民政府
特困人员集中供养救助资金发放情况:
特困人员分散供养救助资金发放情况: